立式加工中心主轴箱加工工艺
2019-10-14 来源:汉川数控机床股份公司 作者:念勇
摘要:通过对立式加工中心主轴箱的结构、材料和加工难点进行分析,总结出合理的工艺方案,在此基础上结合公司现有的设备及工艺习惯,利用专用镗模很好地解决了主轴孔和导轨面的位置度问题,满足批量加工要求。
主轴箱是立式加工中心机床的关键零件,采用对称设计,根据动力学分析,进行合理的布筋,从而保证其具有良好的抗扭曲和抗弯曲能力,同时具有良好的精度稳定性。主轴箱在机床结构上起着定位支承及延长主轴(Z轴伸出)的作用,因此对其制造精度要求很高。
1. 主轴箱结构
以我公司生产的某立式加工中心主轴箱为例,其截面形状如图1所示,内腔主轴深孔如图2所示,通过对主轴箱结构及加工需求分析,确定加工过程中需要特别注意的重点、难点,制定出合理的加工工艺方案,以保证主轴箱的加工质量,提高生产效率。
图1 主轴箱截面形状
图2 内腔主轴深孔
2. 加工需求分析
主轴箱毛坯材料为HT300,铸件采用树脂砂造型,与立柱之间的移动采用滚柱直线导轨配合,其主要要求如下:
(1)铸件不得有砂眼、气孔、缩松和裂纹等铸造缺陷,铸件需时效处理,硬度不低于190HBW。
(2) 两 导 轨 立 面 直 线 度0.005mm,两导轨面直线度0.01mm,导轨大面平面度0.01mm。
(3)丝杠座大面与两导轨面平行度0.01mm,立面与导轨立面平行度0.01mm。
(4)主轴孔φ140H5与导轨大面、立面平行度0.005mm。
(5)各重要面表面粗糙度值均为Ra=1.6μm。
3. 工艺方案难点分析
通过对主轴箱零件的结构和加工需求分析可以得出加工重点及难点如下:
(1)导轨面是丝杠座、主轴孔的基准,如何保证两条导轨面较高的形位公差要求是加工中的难点。
(2)φ140H5主轴孔是主轴箱的重点部位,如何保证尺寸公差和位置精度,也是加工中的难点,在工艺方案中需要重点考虑。
(3)由于主轴箱的精度直接影响机床的精度,因此保证主轴箱的精度稳定性也是工艺方案考虑的重点。
4. 确定工艺方案
确定工艺方案的原则为:①合理布置时效工序,消除主轴箱的各种应力,保证主轴箱的精度稳定性。②正确安排粗、精加工工序,尽可能使粗加工造成的加工误差通过半精加工和精加工得到纠正。③充分利用卧式加工中心机床的加工性能,尽量减少零件的工序周转,提高效率。④合理安排精加工工序,保证零件加工后尺寸及形位公差的稳定性。根据以上原则,结合我公司设备及工艺习惯,确定主轴箱加工工艺流程如图3所示。
图3 工艺流程
5. 工艺方案分析
(1)在主轴箱加工过程中,安排两次振动时效,充分消除铸件在铸造时产生的应力和加工过程中产生的残余应力,防止铸件变形和产生裂纹,保证主轴箱加工后尺寸及形位公差的稳定性。
(2)粗加工时,由于振动时效产生的变形不大,考虑到主轴箱的加工属于批量加工,因此在龙门铣床或者龙门刨床上一次安装多个零件进行粗加工,粗加工四周及导轨面留量3mm
,在卧式镗床上粗镗主轴孔单边留量3mm。
(3)半精加工进一步去处余量,在数控卧式铣镗床上加工四周、导轨面及丝杠座安装面留量0.5mm,主轴孔单边留量0.5mm,其余不重要面加工至设计要求,充分消除加工过程中产生的残余应力。
(4)精加工在日本马扎克卧式加工中心完成,先加工导轨面及丝杠座安装面,要求各面平行度、垂直度≤0.01mm,并加工出导轨面安装孔,然后以导轨立面C面为基准(见图1),一次装夹,精镗成主轴孔,通过工作台的旋转加工完成其余未加工面。为了保证主轴孔和导轨面的平行度和垂直度要求,需设计一套专用镗模。通过以上分析明确了主轴箱工艺方案的可行性及加工工艺流程的正确性,按照以上工艺流程加工,能够满足立式加工中心对主轴箱的各项精度要求。
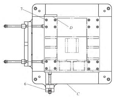
6. 主轴孔镗孔专用镗模
主轴箱主轴孔如图2所示,其 中 主 轴 直 径φ 1 4 0 H 5 , 孔 深200m m,精镗时可采用主轴加单刃精镗刀加工,镗孔时使用专用镗模,如图4所示。该专用镗模以主轴箱导轨大面(图1中的A面)为基准,用导轨立面(图1中的C面)及上端定位(图4中的D面),用螺钉将主轴箱压紧在镗模上。

图4 专用镗模
1、6.挤紧组件 2、3.定位板 4.镗模本体 5.主轴箱 7.螺钉
图4中A面平面度≤0.01mm,主 轴 孔 轴 线 与 A 、B 面 平 行 度≤ 0.005 m m ,A 、 B 面 垂 直 度≤0.01mm。加工时,将专用镗模安装在马扎克卧式加工中心FH-10800的工作台上,找正C面≤0.005mm后用螺钉压紧。利用挤紧组件1将主轴箱C面紧靠在专用镗模的B基准上,用挤紧组件6将主轴箱压紧在专用镗模的D面上定位,用螺钉7压紧。用表找正φ140H5孔中心,装单刃精镗刀精镗成φ140H5孔。
卸下精镗刀,工作台旋转180°,用表找正φ 140H5孔中心,装入面铣刀,精铣成主轴孔上端的平面。对于主轴箱的批量加工,专用镗模很好地解决了主轴孔和导轨面的位置度问题,避免多次装夹和找正产生的误差问题,使主轴箱装夹变得容易,保证加工精度。
7. 结语
主轴箱的加工在立式加工中心机床的制造中占有很重要的地位,主轴箱的质量直接关系到机床的制造精度和使用寿命。通过对机床主轴箱工艺方案的研究,制定了合理的加工工艺流程及具体的加工工艺,经过加工验证,可以满足机床设计的总体要求,为立式加工中心机床的批量生产创造了有利条件,也为其他使用主轴箱的机床制造提供了参考依据。
投稿箱:
如果您有机床行业、企业相关新闻稿件发表,或进行资讯合作,欢迎联系本网编辑部, 邮箱:skjcsc@vip.sina.com
如果您有机床行业、企业相关新闻稿件发表,或进行资讯合作,欢迎联系本网编辑部, 邮箱:skjcsc@vip.sina.com
更多相关信息





