基于 PSD 的深孔轴线度测量机器人设计
2020-6-3 来源:南京信息职业技术 南京信息职业技术 等 作者:赵海峰 郭燕 王国东
摘要 : 针对目前深孔轴线度测试技术的不足,设计了一种基于 PSD 的自定心深孔轴线度测量机器人。通过螺旋管道机器人驱动,带动内径自定心装置沿管道轴线前进,置于定心轴端的激光头发出激光束并照射到外置的四象限 PSD 面板,通过电路转换和数据采集实时显示当前管道位置的轴线位置,并完成所测深孔轴线的测量。与现有测量系统相比,该机器人可以实现精密仪器中深孔、盲孔任意截面直线度参数的测量。
关键词: PSD; 深孔; 直线度; 测量机器人
1 、引言
精密仪器的孔径加工和测试技术是影响零件和产品质量的重要因素之一。飞机、轮船、石油设备和大型医疗器械中都存在着直径不一的深孔( 指长度与直径比大于 5 的孔) 或盲孔,这些孔类零件的加工和检测技术直接影响零件的精度[1]。
目前,中小尺寸孔类零件的内径测量技术日趋完善,但是大尺寸内径测量,特别是大型工件内径的测量工作仍采用大型内径千分尺、臂杆法[2]、感应式应变片[3]等接触式测量方法。这类测量方法操作不便,精度难以控制,且易受人为影响,稳定性差。多普勒效应法、激光干涉仪[4]、激光杠杆法、利用超声波的反转测量法等一些非接触式测量方法精度很高,但由于测试现场环境复杂,测试仪器组建不便的原因,不适合一些大型仪器的现场测量[5]。而且,上述方法都不适宜大型仪器深孔,尤其是盲孔内径参数的测量。
近年来,随着机器人技术的发展,不同领域的工业机器人相继出现[6,7]。基于管道自动运动机构的内径非接触测量机器人具有工作效率高、精度好等优点,可适用于各种加工现场的大尺寸 内径测量[8]。Ma Zi 等[9,10]采用定位可调框架,使测量中心逼近管道轴线; 苏丽梅等[11]采用双椭圆环方式将测量机构定位在中型管道中心,曲新华等[12,13]采用可调柔性连接机构分步实现了相邻 2 个截面轴线中心的定位。以上管道中心定位技术可以将测量机器人轴线定位于被测轴孔内部,但测量中心定位机构较为复杂,并不具备孔类轴线自平衡调节能力,测量时不能有效兼顾效率和精度。
本文在研究现有深孔测试技术的基础上,结合机器人技术设计了一种基于 PSD 光电技术的深孔测量机器人。该机器人主要用于大型精密仪器中深孔、盲孔的任意位置轴孔直线度参数的测量,进而为现代化机械产品的轴孔参数的测量检测以及深孔加工技术中轴线的纠偏提供一种可行的测试技术方案和仪器。
2 、测量原理
本文采用基于 PSD( Position Sensitive Detector)的深孔轴线度测量机器人测试方法。如图 1 所示,测量机器人主要由深孔行走机构Ⅰ、轴线自定心装置Ⅱ、激光发射装置Ⅲ和光电( PSD) 信号探测、处理系统Ⅳ、PSD 位置调节装置Ⅴ五部分构成。

图 1 基于 PSD 的深孔轴线度测量机器人
2. 1 深孔行进机构
深孔行进机构由动力驱动装置、行走导向装置、控制电路以及蓝牙控制模块组成,结构见图 2。动力驱动装置由直流电机驱动六棱柱转子构成,转子的外壁上安装有三组呈对称布置的轮架,每
组轮架上安装 2 个轮子,轮子的转动轴线与转子的轴线呈一螺旋角( 锐角) 。行走导向装置在空心六棱柱外壁上安装有三组呈对称布置的导向轮架,每组导向轮架上也安装 2 个轮子,轮子的转动轴线与六棱柱的轴线相互垂直。动力驱动装置与行走导向装置两部分通过轴套连接。
1. 锂电池 2. 导向轮 3. 直流电机 4. 转子
5. 螺旋轮 6. 导线 7. 控制及驱动电路
图 2 深孔行进机构结构
动力驱动装置转子上的轮架和行走导向装置上的导向轮架均为浮动体,分别采用弹簧产生一定的径向伸缩,使转子轮架上的轮子和导向轮架上的所有轮子始终贴紧于管道的内壁,以适应一定范围内管道直径的变化。行进时,通过安装于导向装置内部的控制器、驱动器和蓝牙信号接收装置发出控制信号,驱动电机转动,利用螺旋力带动装置前进和后退。
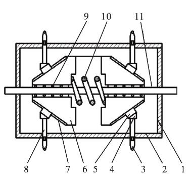
2. 2 深孔自定心装置
如图 3 所示,高精度深孔自定心装置由双向对称的锥形圆台( 两个) 、滑轨、置于滑轨轨道内的滑块、找平块、固定测头、可换测头、内置的张力弹簧、定心轴、滚珠套筒以及起支撑作用的套筒、端盖组成。
测量时,6 个可换测头与筒壁接触,当孔径变小时,在径向带动滑块挤压与锥形圆台相连的滑轨沿孔径轴线向中间运动; 当锥形圆台中间的受压弹簧达到轴向受力平衡时,系统达到稳定状态,从而可以精确确定当前被测孔径局部位置的轴线; 反之,弹簧伸张推动锥形圆台向两侧滑动,滑台与滑轨形成相对运动,测头沿径向外移,直至与孔壁接触受力达到平衡。

1. 端盖 2. 套筒 3. 可换测头 4. 找平块 5. 滑块 6. 锥形圆台
7. 滑轨 8. 固定测头 9. 滚珠套筒 10. 弹簧 11. 定心轴
图 3 深孔自定心装置
2. 3 激光发射装置
如图 4 所示,激光发射装置由固定在轴线上的激光器套筒和点状激光器组成。测量时激光器发射与轴线平行的点状光斑,入射到光电探测器表面。

1. 点状激光器 2. 激光器套筒
图 4 激光发射装置
2. 4 光电信号探测和处理系统
如图 5 所示,光电信号探测和处理系统主要由四象限位置光电探测器、数据采集模块、上位机构成。
四象限探测器作为一种常用的位置敏感器件( Position Sensitive Detector,PSD) ,是通过光刻把一个圆形光敏面分割成面积相等、形状相同、位置对称的四个相互隔离的区域( 象限) ,并分别镀上前极,引出输出线,而后极则仍为一个整片。实际上每个区域相当于一个光电探测器,在理想状态下每个区域的暗电流相等。当入射光点落在器件感光面的不同位置时,四象限探测器的每个象限输出不同幅度的电信号,通过对这些信号的幅度进行计算,可以确定入射光斑中心在感光面上的位置。
四象限探测器每个象限的输出取决于两方面的因素,即入射光的能量 I 和光斑照射到该象限的面积。如果光斑的能量分布不均匀,则输出也是位置 x,y) 的函数,可用 I( x,y) 表示。
通常目标光斑几何形状对称、能量分布均匀。当其位于探测器中心时,各个象限由于光辐射量相同,输出相等的光电流,偏差为 0。当目标光斑相对探测器中心产生偏移,四个象限由于光辐射量不同而产生不同的光电流。通过对光电流的偏差处理即可推知目标光斑相对四象限探测器中心的偏移,从而对目标光斑中心进行定位。
1. 上位机 2. 数据采集盒 3. 四象限光电探测器
图 5 光电信号探测和处理系统
数据采集模块采用高精度 PSD 位置传感器信号采集处理板,该信号处理器可提供 RS232、RS485、USB 接口,采用高速 18 位 AD 芯片,内部集成高精密 PSD 偏置电压,可处理一维、二维 PSD 位置传感器及四象限探测器的光电信号。
2. 5 PSD 位置调节装置
PSD 位置调节装置采用典型的 X / Y / Z 三坐标调节台,用于完成光电探测器信号初始位置的调零,如图 6 所示。
1. Z 坐标调节旋钮 2. X 坐标调节旋钮 3. Y 坐标调节旋钮
图 6 PSD 位置调节装置
3、 测量仪器及测试方法
按上述设计思想制作的测量机器人如图 7 所示。如图 1 所示,测试时首先将测量机器人深孔行进机构Ⅰ、自定心装置Ⅱ置于被测孔内,激光测量头Ⅲ发出点状测量光斑并投射到四象限光电板,通过位置调节装置Ⅴ完成测量初始位置校零,使测量光斑置于光电面板中心,同时显示于上位机软件测试图像中心点。
利用手机蓝牙驱动行进机构Ⅰ开始动态测试。
当行进机构前进时,通过联轴器带动自定心装置Ⅱ沿管道轴线前进。自定心装置由于具有自我调节孔心功能,可以定出待测位置轴线。通过置于定心装置轴线后端的激光器发出激光并投射到四象限光电板,四象限光电探测器捕捉光信号经电路放大处理和采集后上传并显示于上位机,并记录当前位置数据。重复上述过程,可以完成通孔或盲孔的整个轴
线度测量。

图 7 测量机器人实物
4 、结语
本文提出的基于 PSD 的深孔轴线度测量机器人,通过对称分布的双锥台定心结构实现了被测孔径的自适应定心,通过四象限位置敏感器件实现了孔径轴线位置的实时测量。尤其是通过创新的驱动装置设计,还实现了深孔测量中盲孔不易测量功能。与现有深孔直线度测量方法相比,本文提出的测量方法可实现精密仪器中深孔、盲孔任意截面直线度参数的测量。
投稿箱:
如果您有机床行业、企业相关新闻稿件发表,或进行资讯合作,欢迎联系本网编辑部, 邮箱:skjcsc@vip.sina.com
如果您有机床行业、企业相关新闻稿件发表,或进行资讯合作,欢迎联系本网编辑部, 邮箱:skjcsc@vip.sina.com
更多相关信息





